Sistema sensor para la detección de objetos/obstáculos en puntos críticos de líneas férreas
Sector Industrial:
- Industria y Transporte
Investigador/es:
- Daniel Pizarro
- Manuel Mazo
- Ignacio Bravo
- Sira Elena Palazuelos
- Alfredo Gardel
- Marta Marrón
Departamento/s:
- Electrónica
RESULTADOS DE LA INVESTIGACIÓN
Resumen:
El grupo de investigación Ingeniería Electrónica Aplicada a Espacios Inteligentes y Transporte (GEINTRA) del Departamento de Electrónica de la Universidad de Alcalá ha desarrollado un dispositivo sensor y su correspondiente procedimiento para detectar la presencia de cualquier tipo de objetos (vehículos, personas, animales, etc.) en puntos de interés del trazado ferroviario (pasos a nivel, túneles, etc.) y envío al tren de información visual y señales de aviso ante la presencia de objetos en los puntos de interés.
El dispositivo está constituido por un conjunto de cámaras ubicadas en el entorno de cada punto de interés, un sistema de iluminación infrarroja, un módulo de procesamiento de imágenes y un sistema inalámbrico de comunicaciones con el tren.
El sistema contribuye al aumento de seguridad en el transporte por ferrocarril, proporcionando a los maquinistas información visual sobre el estado de los puntos conflictivos y notificando de la presencia de obstáculos en el entorno del punto conflictivo. El sistema es capaz de detectar la presencia de objetos en condiciones de luz diurna y nocturna.
El grupo busca acuerdos de licencia, acuerdos de cooperación técnica y acuerdos comerciales con asistencia técnica con empresas que trabajen en la fabricación de equipos de seguridad para los sistemas de transporte ferroviario.
Descripción:
La invención se refiere a un sistema sensor y de comunicaciones que permiten que el maquinista pueda tener información visual sobre el punto conflictivo.
Su principal función es la de supervisar puntos críticos dentro del trazado ferroviario (pasos a nivel, zonas de tránsito de personas, entradas/salidas de túneles, etc.) donde la presencia de objetos, personas, animales, etc., puedan suponer un peligro para ellos mismos y para los trenes en circulación. Para ello se utilizarán cámaras de vídeo con características que permitan la visión día/noche, junto con un sistema de iluminación en longitudes de onda del infrarrojo, que permiten obtener información visual (tanto de día como de noche) de la zona a vigilar, un sistema de procesamiento de imágenes para, a partir de la información proporcionada por las cámaras, detectar la presencia de obstáculos (en circunstancias cambiantes de las condiciones climatológicas, cambios de iluminación, presencia de sombras, etc.), y activar el sistema de iluminación infrarroja cuando las condiciones de iluminación ambiental lo requieran. Las imágenes captadas serán enviadas vía radio al tren, junto con la información que, mediante un sistema de visualización de imágenes a bordo del tren avise al conductor, en forma de alarma, de la presencia de objetos en la zona a vigilar. El uso de cuatro cámaras, dos de visión diurna (cámaras de color) y dos de visión nocturna (mono-cromas), permite, junto con los focos de iluminación infrarroja, obtener información visual precisa de la zona a vigilar, y garantizan la detección de obstáculos en condiciones diurnas y nocturnas, incluso en condiciones extremas de iluminación ambiental y con presencia de sombras originadas por las condiciones climatológicas y posibles elementos presentes en el entorno de la zona a vigilar (postes, árboles, etc.). También hay que tener en cuenta que, por normativas de seguridad europeas en la estructura ferroviaria, no se puede iluminar en el espectro visible, ya que puede tender a confusión con el sistema de señalización vial.
Aspectos Innovadores:
- El sistema incluye un módulo de tratamiento inteligente de vídeo, cuya misión es la detección automática de posibles elementos que pueden provocar un accidente (con peligro tanto para el personal en tierra, como puede ser un atropello, como en el tren, como puede ser un descarrilamiento).
-
Además el sistema de procesamiento de imágenes permite la transmisión de imagen del área de riesgo al tren que se acerque a la zona y la detección de objetos anómalos en dicha área y transmisión de la correspondiente alarma al tren.
No se ha encontrado nada igual en bases de datos de patentes, ni en la bibliografía científica consultada.
Palabras Clave:
- Líneas férreas
- Detección de objetos
- Sensor
- Obstáculo
- Punto crítico
- Tren
- Prevención accidentes
- Seguridad ferroviaria
- Trazado ferroviario
- Información visual
- Transporte
- Seguridad en el transporte
Disciplinas Científicas:
- Fabricación Industrial, tecnologías de los Materiales y el Transporte
- Medioambiente y prevención de riesgos
- Tecnologías de la Información y las Telecomunicaciones
Grado Desarrollo del resultado de investigación
- En el mercado
ASPECTOS COMERCIALES
Ventajas competitivas:
La invención propuesta presenta las siguientes ventajas:
- Imágenes en tiempo real, y de manera continua, de lo que esté ocurriendo en un punto concreto.
- Rápida evaluación de si existe una situación de riesgo.
- Aumento de la seguridad en la circulación.
- Eliminación de posibles errores humanos y facilita la función del maquinista.
Alto potencial comercial a nivel nacional e internacional con coste moderado.
Estado de la propiedad industrial e intelectual
- Patente concedida
Comentarios:
Patente concedida a fecha 01 de febrero de 2013, con número de publicación ES2377802
Tipo Colaboración
- Acuerdo comercial con asistencia técnica
- Acuerdo de licencia
- Cooperación técnica
Comentarios:
El grupo busca alcanzar acuerdos de licencia, acuerdos de cooperación técnica o acuerdos comerciales con asistencia técnica con empresas que trabajen en la fabricación de equipos de seguridad para los sistemas de transporte ferroviario.
Información Adicional:

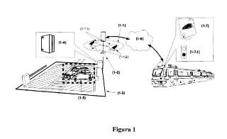
Fig. 1: Esquema ilustrativo donde se representa la ubicación de los componentes del sistema (cuatro cámaras de área (1-1), sistema de iluminación infrarroja (1-2), sistema de procesamiento (1-4), enlace radio (1-6) y sistema de visualización a bordo del tren (1-7)), respecto a la zona (1-3) donde se pueden encontrar objetos a detectar (1-5).







